O Tesla O Roadster está chegando “em breve” há tanto tempo que, quando Elon Musk anunciou a data de revelação em 1º de abril, a internet não conseguiu decidir se era uma piada ou não. Dado que o carro foi apresentado pela primeira vez em 2017 com um preço em torno de US$ 200.000 e promessas que foram adiadas desde então, o ceticismo é justo. Mas uma patente publicada discretamente recentemente, descoberta por um analista de patentes em Xsugere que as coisas podem realmente estar se movendo. E o que ele descreve é genuinamente diferente de tudo que Tesla, ou qualquer pessoa, já colocou em um carro de produção antes.
Veja as 2 imagens desta galeria no
artigo original
Um quadro para governar todos eles
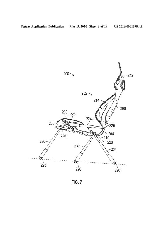
Assentos de carro tradicionais são uma montagem de dezenas de componentescom suportes metálicos, mecanismos reclináveis, hastes de apoio de cabeça e estruturas de apoio, todos aparafusados ou rebitados. A nova patente da Tesla descarta toda essa abordagem. O design é construído em torno de uma única estrutura composta contínua onde a base do assento, o encosto, o apoio de cabeça e os apoios são todos termoformados como uma peça unificada. A Tesla chama isso de estrutura monolítica, e é a mesma filosofia por trás de seu impulso de gigacasting – menos peças, menos pontos de falha, menos peso, fabricação mais limpa. Está mais próximo em conceito do chassi de banheira de carbono você encontraria no centro de um hipercarro como um McLaren do que qualquer coisa que você esperaria encontrar sob uma almofada de assento.

Veja as 2 imagens desta galeria no
artigo original
Mais inteligente do que parece
A engenharia vai muito além de apenas torná-lo uma peça única. A estrutura é dividida em até seis zonas de rigidez distintas, cada uma ajustado de forma diferente para ergonomia e suporte estrutural. Em vez de uma poltrona reclinável mecânica, uma dobradiça flexível embutida feita de material compósito de fibra controla o movimento. Quatro pares de atuadores dão ao assento seis graus de liberdade, e uma ECU gerencia tudo isso por meio de software, o que significa que o assento é essencialmente programável. Os canais de ventilação são moldados diretamente. Os caminhos de implantação do airbag são moldados nos suportes. Até mesmo o acabamento suave é preso sem hardware separado. Tudo isso quer dizer que Tesla pensou mais neste assento do que apenas se sentar em uma cadeira de plástico ao lado da piscina, um pensamento que temos certeza que passou pela mente de muitos que estão lendo isso.

Veja as 2 imagens desta galeria no
artigo original
Um assento que pode mudar a forma como os carros são construídos
As implicações vão além do Roadster. Se esta abordagem de fabricação for ampliada, poderá simplificar significativamente a produção de assentos em toda a linha da Tesla, reduzindo a complexidade e o peso da montagem em um único movimento. Por enquanto, porém, é mais um sinal de que o Roadster está mais próximo da realidade do que nunca. E se a revelação de 1º de abril não for brincadeira, este pode ser apenas o assento que leva você de 0 a 60 em menos de dois segundos.





